その地域で有力なスマホメーカーを抱えていないことも影響しているのか、EUはここ近年でスマホ市場をかなり掻き乱している印象を受けます。特にAppleが目の敵にされている印象で、まず最初には「Lightning」実質廃止。
さらに「サイドローディング」の開放など市場公平の観点からも規制されている感じです。ただ言っていることがめちゃくちゃな部分もあり、サイドローディングを開放すればセキュリティが下がるリスクが高いのは当たり前なのに、セキュリティは担保するべきだと矛盾した主張。
また直近で見ればスマホのアップデートサポート期間は最低でも5年とされており、今後控えているのが「バッテリー」に関するものです。
新たな特許の判明。

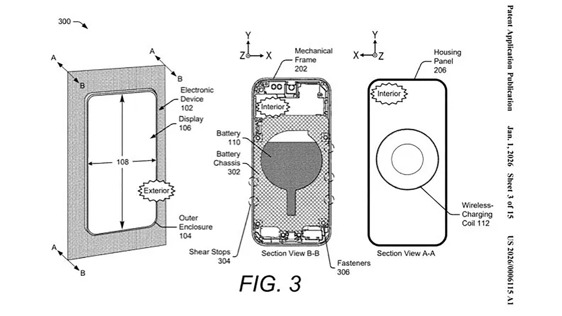
今回Android AuthorityによるとGoogleは米国特許商標庁(USPTO)に新たな特許を出願していることが判明しました。今回判明した特許を確認するとスマホの新しい内部設計を説明しており、ざっくり言えば簡単にバッテリーが取り外せるようになっているとしています。
簡単に言えば、従来のようにバッテリーを接着剤で固定するのではなく、金属フレームの中にバッテリーを収める構造を採用しており、端末が曲がったり、ねじれたり、落下したりした際に発生する物理的ストレスからバッテリーを保護する役割を果たす。
この設計により、バッテリーの取り外しや交換が容易になり、修理コストの低減や、電子廃棄物の削減につながる可能性がある。
おそらくですが2027年に控えたEUの新たな規則に対応するための下準備としてGoogleはPixelの内部デザインを再設計していると思われます。
EUの新たな規則。
![]()
記憶違いだったら申し訳ないですが、2027年から新たなバッテリー規則が開始します。そしてこのバッテリー規則によってメーカーは内部設計を大きく見直す必要があると言われています。
| 新たなバッテリー規則のポイント |
| バッテリーの取り外し・交換に特別な工具や技術を必要としないこと |
| バッテリー交換が端末の機能・安全性を損なわないこと |
妥協案もあるみたいですが、EU議会はガラケー時代のようにユーザーが簡単にバッテリーを交換できることを想定している可能性があります。
スペックを妥協しない。

何よりガラケーの時と異なり、今のフラッグシップモデルを中心に「ワイヤレス充電」や「IP68」に「IP69」などに対応しています。なので以前のようなバッテリーの換装式を採用することは難しいと言われていますが、今後Googleが申請した特許における技術は、ワイヤレス充電やIP68などを妥協しないとしています。
またこの技術の説明に使われているのは折畳式機種になりますが、この技術自体は従来のバータイプやタブレットなどに適用できることを示唆しているとしています。
なのでかなり汎用性が高い技術であることに違いはありません。
とはいえ、これはGoogleが、昔ながらのワンタッチで外せる背面カバーを採用し、簡単にバッテリー交換ができる仕組みを復活させようとしている、という意味ではない。同社の特許によれば、バッテリーアセンブリ自体は端末内部に固定されたままになる設計が想定されている。
同サイトが指摘するように従来のような換装式を意味しているのではなく、ざっくりと言えばスマホのバッテリーは大量の接着剤によって固定されていることが多いため修理をより困難にしている現状があります。
ただGoogleの特許からも「接着剤」を使わない上でバッテリーを固定化することが可能になることで、従来より修理がしやすくなるという感じです。
最終的にどのようなデザインになるのか不明。
![]()
少なくとも今のスマホを修理するとなった時に、専門知識が必要な上で修理用のツールが必要であることに違いはありません。一方でEUによる新たな規則によるとユーザーは「特殊なツール」をなしで、としていますが、一般向けに広く販売すれば「特殊」じゃなくなるのか不明で、そもそもツールを使うなという意味なのか曖昧です。
また2027年から開始なので、今年の後半に登場するPixel 11シリーズでは今回判明した技術が採用されている可能性があるとはいえ、EUが求めるバッテリーをより簡単に交換できるデザインを採用する必要はないです。
一方で2027年に正式発表が予測されているPixel 11aやPixel 12シリーズではこの影響を強く受けると思います。結局メーカーがどのようなデザインを採用するのかは、その時になってみないと分からない感じで、何よりこの特殊な構造はヨーロッパ向けモデルのみに採用する可能性もあります。